
Varillas de perforación de anclaje
Varillas de perforación de anclaje con insertos de metal duro y roscas redondas largas, diseñadas para una penetración rápida, alta resistencia al torque y avance seguro del revestimiento en pozos de cimentación, refuerzo de terrenos, estabilización de taludes y proyectos de techado de tuberías de túneles.
Pozos de cimentación, refuerzo de terrenos, estabilización de taludes, techado de tuberías de túneles y otros trabajos de soporte de anclaje.



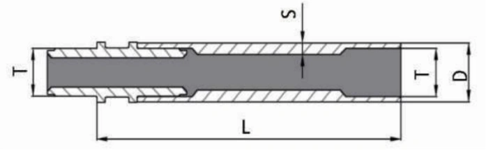
| L, mm | D, mm | S, mm | Rosca (T), mm | Peso, kg | Nombre del producto |
| 2000 | 54 | 8.5 | 42 | 19 | Varillas de perforación interna 54 |
| 2000 | 76 | 10 | 56 | 32 | Varillas de perforación interna 76 |
| 1500 | 89 | 15 | 78 | 41 | Varillas de perforación interna 89 |
| 1500 | 102 | 15 | 90 | 48 | Varillas de perforación interna 102 |
| 1. La configuración de rosca estándar es rosca izquierda. 2. La conexión estándar entre la varilla de perforación y el adaptador es roscada. Se ofrecen conexiones soldadas por fricción bajo pedido. |
|||||

Las varillas de perforación de anclaje están equipadas con roscas extendidas dedicadas, que evitan eficazmente la separación del cuerpo de la varilla durante la rotación.
Las roscas adoptan un perfil de rosca redonda, lo que ofrece una conformidad geométrica mejorada, una mejor distribución de la carga y una mayor resistencia al aflojamiento en condiciones de perforación continua.




