Herramientas de perforación de anclaje
Las herramientas de perforación de anclaje están diseñadas para aplicaciones de soporte de terreno, como excavaciones profundas, estabilización de taludes empinados y anclaje de cimentaciones. Fabricadas en acero de alta resistencia con roscas reforzadas, estas herramientas garantizan un rendimiento autoperforante fiable, alta resistencia a la tracción, penetración rápida e integración segura con sistemas de anclaje autoperforantes.
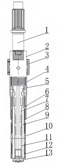
Visualización de componentes del sistema DTH integrado
El tubo de revestimiento se conecta directamente a la plataforma de perforación, lo que previene eficazmente fallos en el avance del tubo de revestimiento causados por roturas de la tubería o de la zapata de revestimiento, y garantiza una perforación fluida.
Las varillas de perforación de anclaje están equipadas con roscas extendidas dedicadas, que evitan eficazmente la separación del cuerpo de la varilla durante la rotación.
Las brocas de revestimiento de anclaje con insertos de metal duro ofrecen una capacidad de impacto significativamente mayor en la rotura de rocas en comparación con las brocas con placa de carburo soldada, lo que resulta en velocidades de penetración más rápidas y una mayor eficiencia de perforación.

Conjunto de herramientas de perforación
- Adaptador de vástago
- Eje de lavado
- Anillo de lavado
- Adaptador de lavado
- Barra de equilibrado
- Boquilla para tubo externo
- Boquilla para varilla interna
- Adaptador de tubo externo
- Adaptador de varilla interno
- Tubo de revestimiento
- Varilla de perforación
- Broca de corona
- Broca interna




