Otras piezas
Martillo trasero
El martillo trasero está diseñado para facilitar la extracción de la sarta de perforación. Durante operaciones con pozos atascados o colapsados, puede reducir significativamente el tiempo de inactividad y los costos operativos, mejorando así la eficiencia general de la perforación.
Banco de desenroque
Un banco de desenrosque hidráulico totalmente automático, diseñado para un desmontaje fácil y eficiente de herramientas de perforación. El banco es fácil de usar, rápido de operar y adecuado para operaciones en situ de alta frecuencia.
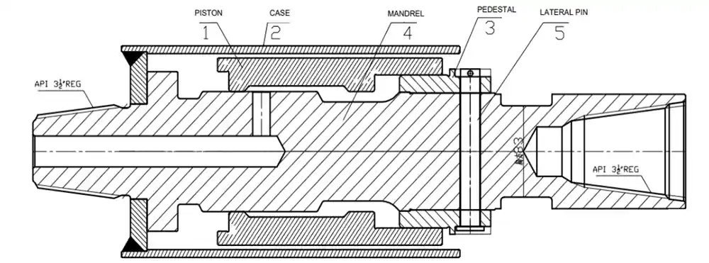
Amortiguador
- Absorbe eficazmente las fuerzas de impacto inversas generadas por el martillo DTH, protegiendo el cabezal de la perforadora, especialmente crítico en aplicaciones de perforación de gran diámetro.
- Disponible en dos diseños estructurales: tipo roscado para perforación de pozos de agua, petróleo y gas, gas de esquisto y aplicaciones geotérmicas; tipo hexagonal, utilizado principalmente en proyectos de pilotaje de cimentaciones de gran diámetro.
- Compatible con equipos de perforación DTH, equipos de perforación de pozos de agua, equipos de perforación de pilotaje, equipos de perforación rotativos y equipos relacionados.
| Modelo | Carrera máxima del amortiguador, mm | Componente elástico | Hilo de conexión | Dimensiones (Ø x L), mm | Peso, kg |
| Amortiguador de 6'' | 25 | Arandela de PU | API 3 1/2'' REG | 182 x 565 | 100 |
| Amortiguador de 12'' | 75 | Resorte de disco | API 6 5/8'' REG | 273 x 885 | 300 |
| Amortiguador de 18'' | 125 | Resorte de disco | Hexagonal 273 | 278 x 1400 | 345 |
Banco de embutido de tubos
Un dispositivo compacto y ligero, diseñado específicamente para la extracción de tubo de revestimiento. Su estructura estrecha permite su uso en sitios confinados o de acceso limitado, lo que lo hace ideal para pozos pequeños y obras con espacio limitado.



